662 109 210 info@eurekate.es Lun - Jue 9 - 18 h / Vie 9 - 17:30 h / Sab Dom Atención telefónica
Líder en propiedad
INDUSTRIAL E INTELECTUAL
Número #1
EN CALIDAD
Servicio integral
INTERNACIONAL
Consulta gratuita

Herramienta para sensores NOx y sondas lambda

Herramienta de boca fija para sensores NOx y sondas lambda

Modelo de utilidad protegido · Solución técnica para mantenimiento de sistemas de escape

Una solución específica para un problema real en automoción

En los sistemas de escape y control de emisiones de los vehículos, componentes como los sensores NOx y las sondas lambda trabajan de forma continua a altas temperaturas. Como consecuencia, es habitual que sus cables y conexiones queden adheridos al propio sensor, dificultando seriamente su desmontaje durante tareas de mantenimiento o sustitución.

Las llaves de vaso convencionales no están diseñadas para trabajar con este tipo de elementos, ya que no permiten un ajuste correcto cuando existen cables o conexiones solidarias al componente, generando problemas de acceso, pérdida de par de apriete y riesgo de daño en piezas delicadas.

La presente invención resuelve este problema de forma directa, mecánicamente sencilla y altamente eficaz.

Descripción general de la invención

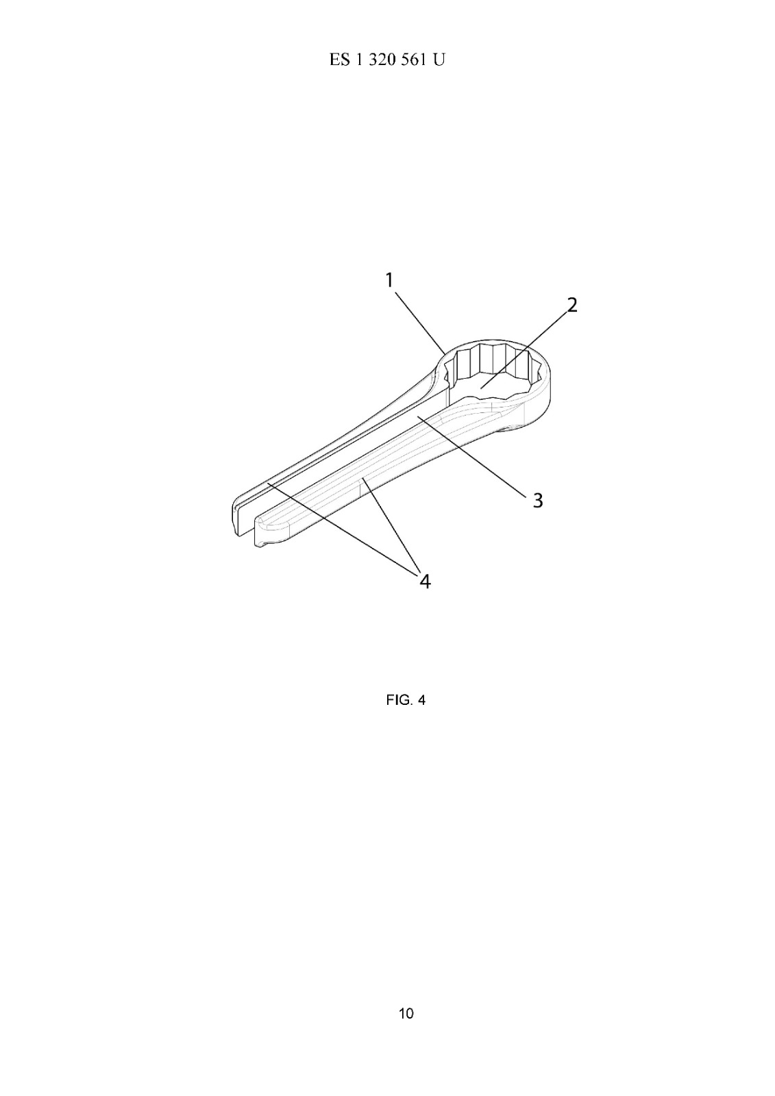
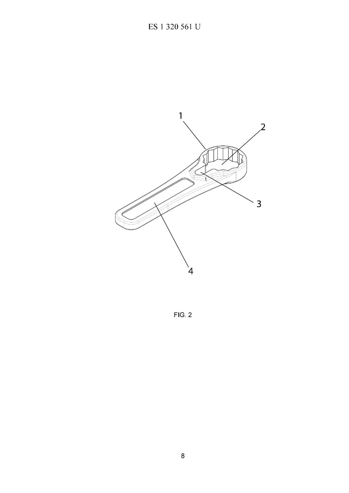
La invención consiste en una herramienta de boca fija especialmente diseñada para aflojar y apretar sensores NOx, sondas lambda y elementos similares que incorporan cables o conexiones no separables.

A diferencia de las herramientas existentes, esta herramienta incorpora un alojamiento específicamente configurado que permite albergar cables, conexiones o protuberancias adheridas, posibilitando un ajuste preciso del vaso sobre el cuerpo del sensor y una aplicación segura del par de torsión.

El resultado es una herramienta:

  • Funcionalmente superior

  • Adaptada a un problema técnico concreto

  • Compatible con las necesidades reales del mantenimiento automotriz moderno

 

Características técnicas clave

  • Herramienta de boca fija con vaso interior diseñado para alojar el elemento a aflojar o apretar.

  • Alojamiento integrado para cables y conexiones, evitando interferencias durante el uso.

  • Mango recto que facilita el agarre y la correcta aplicación del torque.

  • Diseño robusto y orientado a uso profesional intensivo.

Configuraciones posibles del alojamiento

La invención contempla dos configuraciones técnicas, lo que amplía su versatilidad:

  1. Alojamiento cerrado

    • El alojamiento queda integrado dentro del cuerpo de la herramienta.

    • Proporciona máxima rigidez estructural.

  2. Alojamiento abierto en forma de ranura longitudinal

    • La ranura se extiende a lo largo del mango, dividiéndolo en dos partes.

    • Permite una adaptación rápida a cables de diferentes posiciones.

Ambas configuraciones están protegidas dentro del modelo de utilidad.

Ventajas frente a herramientas convencionales

  • Permite trabajar con sensores y sondas con cables adheridos, algo imposible con llaves estándar.

  • Reduce el riesgo de dañar cables, conectores o el propio sensor.

  • Mejora la eficiencia en operaciones de mantenimiento y reparación.

  • Aporta una solución específica a un problema frecuente en talleres y servicios técnicos.

  • Diseño simple, industrializable y fácilmente integrable en catálogos de herramientas.

 

Aplicaciones principales

  • Mantenimiento de sistemas de escape.

  • Sustitución de sensores NOx.

  • Sustitución de sondas lambda.

  • Talleres de automoción.

  • Servicios técnicos especializados.

  • Fabricantes y distribuidores de herramientas profesionales.

Protección legal

La herramienta está protegida mediante modelo de utilidad registrado:

La protección cubre tanto la configuración funcional como las variantes constructivas del alojamiento.

 

Oportunidad de licencia o adquisición

Esta invención representa una oportunidad clara para fabricantes de herramientas, distribuidores o grupos industriales que deseen incorporar a su catálogo una solución:

  • Técnica

  • Diferenciada

  • Con aplicación directa en automoción

  • Ya protegida legalmente

📩 Disponible para venta o licencia del modelo de utilidad.

 

Contacto

Si está interesado en:

  • Adquirir la patente

  • Licenciar la tecnología

  • Evaluar su integración industrial

Puede ponerse en contacto con nosotros para ampliar información técnica o comercial.

Eurekate
Resumen de privacidad

Esta web utiliza cookies para que podamos ofrecerte la mejor experiencia de usuario posible. La información de las cookies se almacena en tu navegador y realiza funciones tales como reconocerte cuando vuelves a nuestra web o ayudar a nuestro equipo a comprender qué secciones de la web encuentras más interesantes y útiles.