662 109 210 info@eurekate.es Lun - Jue 9 - 18 h / Vie 9 - 17:30 h / Sab Dom Atención telefónica
Líder en propiedad
INDUSTRIAL E INTELECTUAL
Número #1
EN CALIDAD
Servicio integral
INTERNACIONAL
Consulta gratuita

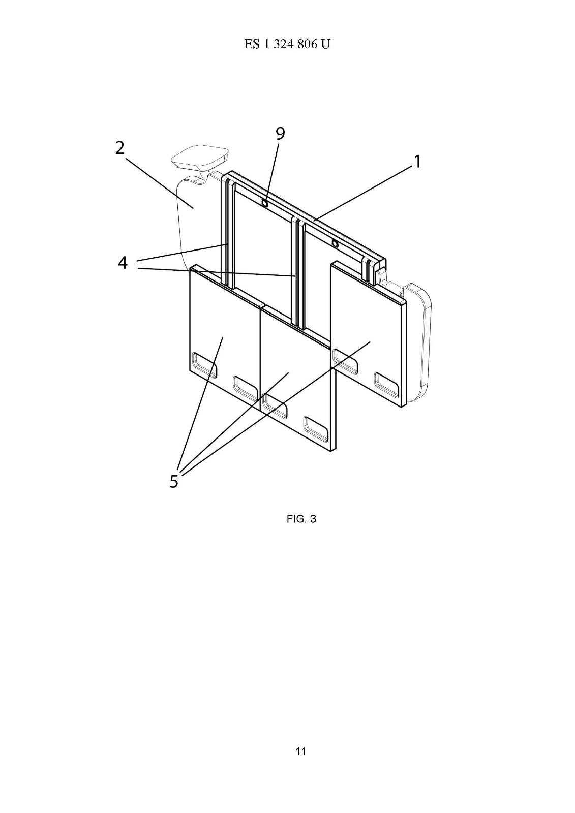
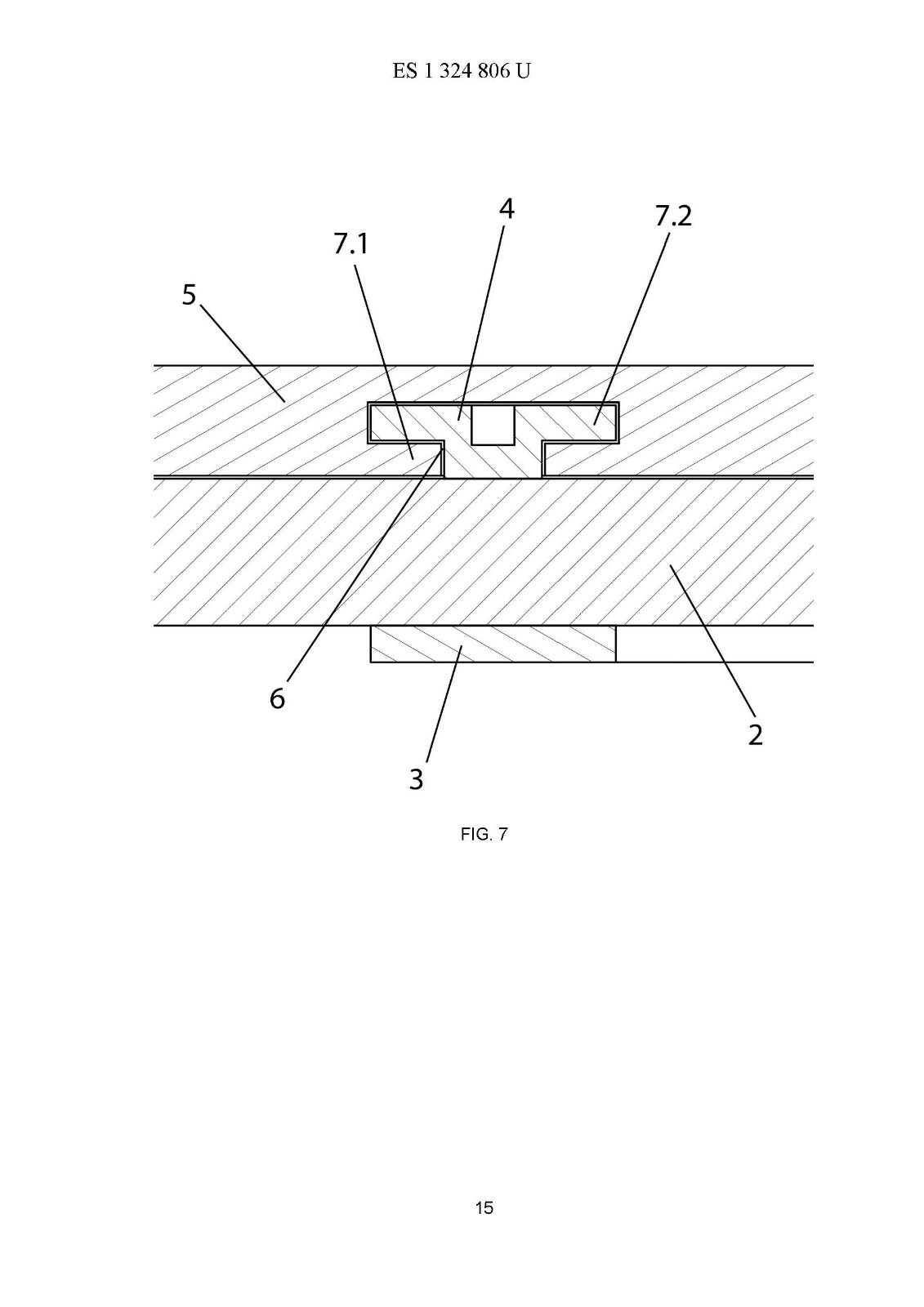
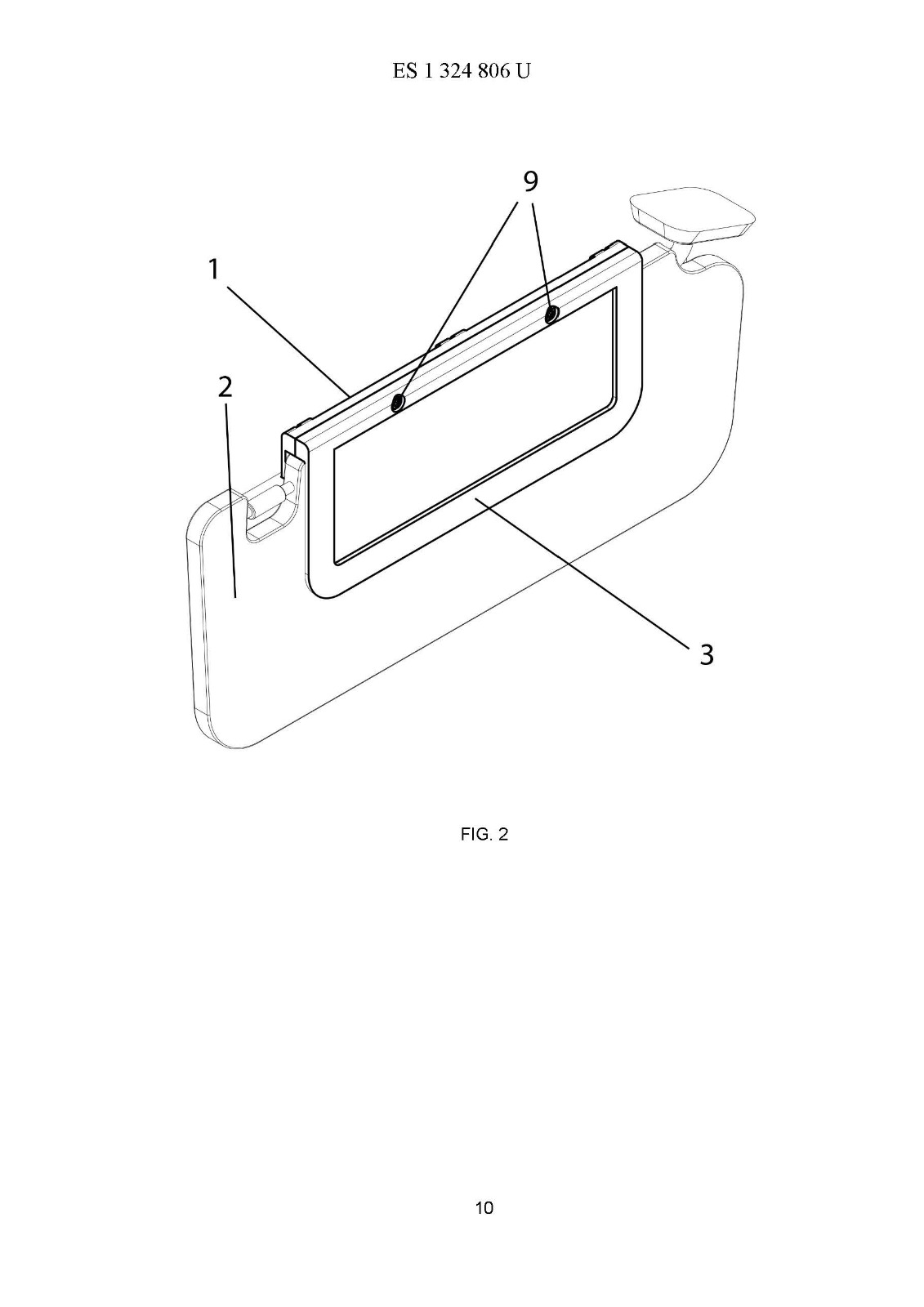
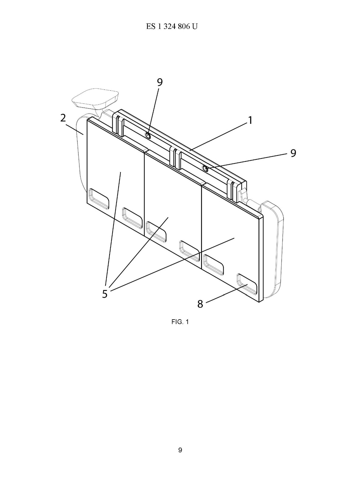
Extensor ajustable para visera parasol de coche

El deslumbramiento solar al volante es uno de los problemas más comunes y peligrosos durante la conducción diaria. Cuando el sol incide directamente en los ojos del conductor, la visibilidad se reduce de forma inmediata, aumentando el riesgo de distracciones y situaciones inseguras.

Las viseras parasol convencionales no siempre ofrecen una solución eficaz. En muchas ocasiones, no cubren completamente el ángulo por el que entra la luz, dejando zonas críticas sin protección y obligando al conductor a forzar la postura o apartar la vista de la carretera.

El extensor ajustable para visera parasol de coche surge como una respuesta práctica e innovadora a este problema. Su función es clara: bloquear el sol únicamente en la zona de los ojos del conductor, creando una sombra precisa que elimina el deslumbramiento sin reducir la visibilidad general.

Con este sistema, la conducción vuelve a ser cómoda, segura y controlada, incluso en condiciones de luz intensa.

El extensor ajustable para visera parasol de coche es un dispositivo diseñado para ampliar y mejorar la protección que ofrecen las viseras tradicionales, actuando exactamente donde estas no llegan.

A diferencia de las viseras convencionales, este sistema incorpora un anexo prolongador ajustable que permite extender la zona de sombra y adaptarla a la posición real del sol en cada momento. De este modo, el sol queda bloqueado directamente a la altura de los ojos del conductor, sin interferir en la visión de la carretera.

Su diseño funcional permite ajustar la extensión de forma rápida y precisa, ofreciendo una solución flexible frente a distintas condiciones de iluminación. Tanto en trayectos urbanos como en carretera, el dispositivo se adapta al entorno y a las necesidades del conductor.

El resultado es una solución eficaz, discreta y fácil de usar que transforma la visera parasol en un elemento activo de seguridad y confort al volante.

El funcionamiento del extensor ajustable para visera parasol de coche es sencillo e intuitivo, pensado para adaptarse a las condiciones reales de conducción sin distraer al conductor.

El dispositivo se integra directamente en la visera parasol del vehículo y permite regular la extensión de la zona de sombra según la posición e intensidad del sol. Gracias a su sistema ajustable, el conductor puede seleccionar distintas posiciones para bloquear la luz solar exactamente en el punto donde afecta a la visión.

En su posición básica, el extensor permanece recogido y actúa como una visera convencional. A medida que el sol desciende o cambia de ángulo, la extensión puede desplegarse parcial o totalmente, creando una sombra precisa que protege los ojos sin limitar el campo visual.

Este ajuste progresivo permite mantener una visibilidad clara de la carretera en todo momento, eliminando el deslumbramiento de forma eficaz y mejorando la seguridad durante la conducción.

El extensor ajustable para visera parasol de coche aporta una serie de ventajas claras frente a las viseras tradicionales, mejorando de forma notable la experiencia de conducción:

  1. Bloquea el sol directamente en los ojos del conductor
    El extensor crea una sombra precisa en la zona visual crítica, eliminando el deslumbramiento sin afectar a la visibilidad general.

  2. Ajuste en varias posiciones
    Permite adaptar la extensión según la altura y dirección del sol, ofreciendo protección en diferentes momentos del día.

  3. Reduce la fatiga visual
    Al evitar la exposición directa a la luz solar, disminuye el esfuerzo ocular durante trayectos largos o repetitivos.

  4. Mejora la seguridad al volante
    Una mejor visibilidad se traduce en mayor concentración y menor riesgo de distracciones.

  5. Compatible con la visera parasol existente
    Se integra como un anexo prolongador sin necesidad de sustituir la visera original del vehículo.

  6. Uso sencillo e intuitivo
    El ajuste se realiza de forma rápida, sin herramientas y sin desviar la atención de la carretera.

Las viseras parasol incluidas de serie en los vehículos están diseñadas para ofrecer una protección básica frente al sol, pero presentan limitaciones claras en situaciones reales de conducción.

En muchos casos, la visera no cubre completamente el ángulo por el que entra la luz solar, especialmente cuando el sol se encuentra bajo en el horizonte o incide de forma lateral. Esto provoca que el conductor siga recibiendo luz directa en los ojos, incluso con la visera bajada.

Además, las viseras tradicionales ofrecen una posición fija, lo que obliga al conductor a adaptar su postura o realizar movimientos incómodos para intentar evitar el deslumbramiento.

El extensor ajustable para visera parasol de coche elimina estas limitaciones al añadir una prolongación regulable que permite ajustar la zona de sombra con precisión. De este modo, la protección se adapta al conductor y a las condiciones de luz, no al revés.

Esta diferencia convierte al extensor en una solución más eficaz, segura y cómoda frente a las viseras convencionales.

El extensor ajustable para visera parasol de coche ha sido diseñado para que su instalación sea rápida, sencilla y sin complicaciones.

El dispositivo se acopla directamente a la visera parasol existente, sin necesidad de herramientas, perforaciones ni modificaciones permanentes en el vehículo. Esto permite instalarlo y retirarlo fácilmente, manteniendo intacto el interior del coche.

Una vez colocado, su uso es completamente intuitivo. El conductor puede ajustar la extensión de la visera en segundos, adaptándola a la posición del sol en cada momento del trayecto.

Este sistema de ajuste rápido facilita un uso diario cómodo y seguro, permitiendo mantener la atención en la conducción mientras se disfruta de una protección solar eficaz.

Una buena visibilidad es clave para una conducción segura. El extensor ajustable para visera parasol de coche contribuye directamente a mejorar la seguridad al volante al eliminar uno de los factores más molestos y peligrosos: el deslumbramiento solar.

Al bloquear el sol únicamente en la zona de los ojos del conductor, el dispositivo permite mantener una visión clara de la carretera, los espejos y el entorno, sin crear sombras innecesarias ni reducir el campo visual.

Esta protección precisa no solo mejora la seguridad, sino que también incrementa la comodidad durante la conducción, reduciendo la fatiga visual y el estrés, especialmente en trayectos largos o en horas de sol bajo.

El resultado es una experiencia de conducción más relajada, controlada y segura, donde el conductor puede concentrarse plenamente en la carretera.

 

El extensor ajustable para visera parasol de coche representa una mejora sencilla pero eficaz para resolver un problema cotidiano que afecta directamente a la seguridad y al confort al volante.

Gracias a su diseño ajustable, su fácil instalación y su capacidad para bloquear el sol exactamente donde molesta, este dispositivo transforma la visera parasol en una herramienta activa de protección visual.

Una solución práctica, innovadora y pensada para el uso real, que permite conducir con mayor comodidad, mejor visibilidad y más seguridad en cualquier momento del día.

Porque cuando el sol deja de ser un problema, la conducción vuelve a ser cómoda, segura y controlada.

Modelo de Utilidad:

Eurekate
Resumen de privacidad

Esta web utiliza cookies para que podamos ofrecerte la mejor experiencia de usuario posible. La información de las cookies se almacena en tu navegador y realiza funciones tales como reconocerte cuando vuelves a nuestra web o ayudar a nuestro equipo a comprender qué secciones de la web encuentras más interesantes y útiles.